熱式氣體孔板流量計在燒結生產中的應用
熱式氣體孔板流量計是利用加熱時液體溫度上升至某一值所需的能量與液體孔板之間的關系來測量液體或氣體孔板的一種流量儀表。一般用來測量煤氣等氣體孔板的流量。它具有壓損小、流量范圍度大、高精度、高重復性、高可靠性、體積小、易維護不易損壞等特點。
早期的熱式氣體孔板流量計直接將加熱線圈和測溫元件放入液體中與液體接觸,是一種接觸式流量計,由于現場環境中普遍存在腐蝕、磨損及防爆問題,使它在工業應用中受到很大限制。到 20 世紀 50 年代,人們又提出了不接觸液體的邊界層流量計,克服了接觸式流量計的缺點,但測量結果受介質參數(如熱導率、比率、粘度)以及環境的震動等因素的影響;到 20 世紀 70 年代,基于測量液體溫度分布的熱分布型 TMF,優點很多,但只適用于小管徑測量。
此后,人們又設計了一種插入式 TMF,它在國內得到了迅猛的發展,可以用來測量大管徑的氣體流量。
燒結廠 105m2燒結機所使用的 75萬m3/h 的主抽風機至 120m大煙道有一段直徑為 4m的除塵管道,除塵管道的廢氣流量測量一直是個難題。檢測大管徑管道的廢氣流量,一般選用孔板式差壓流量計,但經過多年使用這種流量計的缺點就凸現出來。由于除塵管道流量計管徑龐大,加之維修校驗不便,在管中200m高的大煙筒巨大的抽力對孔板的表面產生一定的磨損,孔板管道內有腐蝕,骯臟或微粒物進入等多種因素導致孔板流量計不準或損壞。
充滿管道孔板流量計是我們在現場經常見到的一種采用差壓原理測量工況條件下介質流量的測量方式。
原理的單相流體,當它流經管道內的節流件時,流束將在節流件處形成局部收縮,因而流速增加,靜壓力降低,于是在節流件前后便產生了靜壓差。流體流量愈大,產生的壓差愈大,這樣可依據測量壓差來間接地衡量流量的大小。這種測量方法是以流動連續性方程(質量守恒定律)和伯努利方程(能量守恒定律)為基礎的。壓差的大小不僅與流量還與其他許多因素有關,例如當節流裝置形式或管道內流體的物理性質(密度、粘度)不同時,在同樣大小的流量下產生的壓差也是不同的。
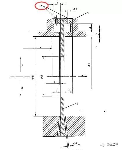
什么是孔板?
孔板就是一塊具有圓形開孔的金屬薄板。
孔板的取壓方式
GB/T2624中給出孔板有三種取壓方式:角接、法蘭、D和D/2取壓。在現場中,我們多數會見到角接取壓。
孔板流量計的組成
一個孔板流量計由三部分組成,即孔板、導壓管、差壓變送器。
在現場中如何安裝孔板
現場安裝孔板流量計
水平管道安裝孔板流量計、垂直管道安裝孔板流量計。
大管徑廢氣流量的檢測特點:
(1)管徑龐大,通常為 DN1000mm~DN6000mm,給檢測此流量的儀表維修和標定帶來了相當的困難,一般檢測或清洗探頭要耗費大量的人力物力;
(2)壓力和流速低,一般出口壓力在 10~60kPa,流速為 1.5~6m/s,選用的檢測儀表要壓損小、流量的雷諾數低。
(3)介質臟,液體中含有大量的灰分和腐蝕物,容易污染流量計的傳感器。
針對上述特點,我們在反復試驗的基礎上采用了比較先進的大管徑插入式熱式氣體孔板流量計來檢測大管徑廢氣流量。

